首页
专利数据库
产业人才
行业动态
产业政策法规
维权援助
个人中心
登录/注册
详情
文本
图像
标题:
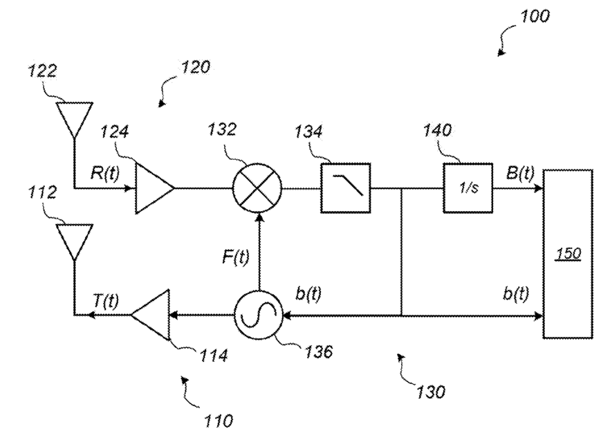
Method for detecting at least one of a heart rate and a respiratory rate of a subject
授权日:
1900-01-01
公开(公告)号:
US20170172425A1
申请日:
2016-12-08
公开(公告)日:
2017-06-22
当前申请(专利权)人:
IMEC VZW | STICHTING IMEC NEDERLAND
发明人:
LIU, YAO-HONG | MERCURI, MARCO
简单同族:
EP3184040A1 | EP3184040B1 | US20170172425A1
简单同族成员数量:
3
简单同族被引用专利总数:
5
诉讼案件数:
0
法律状态/事件:
实质审查 | 权利转移