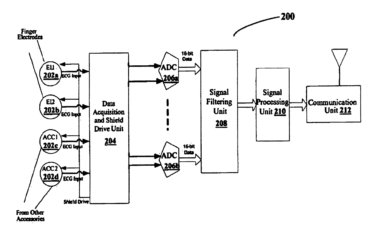
标题:
Cardiac health monitoring device and a method thereof
授权日:
1900-01-01
公开(公告)号:
US20190290151A1
申请日:
2017-12-31
公开(公告)日:
2019-09-26
当前申请(专利权)人:
IMEDRIX SYSTEMS PRIVATE LIMITED
发明人:
SHASTRI, RAJARAM | RANGAPPAN, NAGESH | ARAVETI, VENKATAKRISHNA | RAYAPROLU, NIRANJAN | JADCHERLA, SRIKANTH | RAMASAMY, KISHORE | KATA, LOKESH KUMAR
简单同族:
US20190290151A1 | WO2018122879A1 | WO2018122879A9
简单同族成员数量:
3
简单同族被引用专利总数:
0
诉讼案件数:
0
法律状态/事件:
实质审查 | 权利转移