首页
专利数据库
产业人才
行业动态
产业政策法规
维权援助
个人中心
登录/注册
详情
文本
图像
标题:
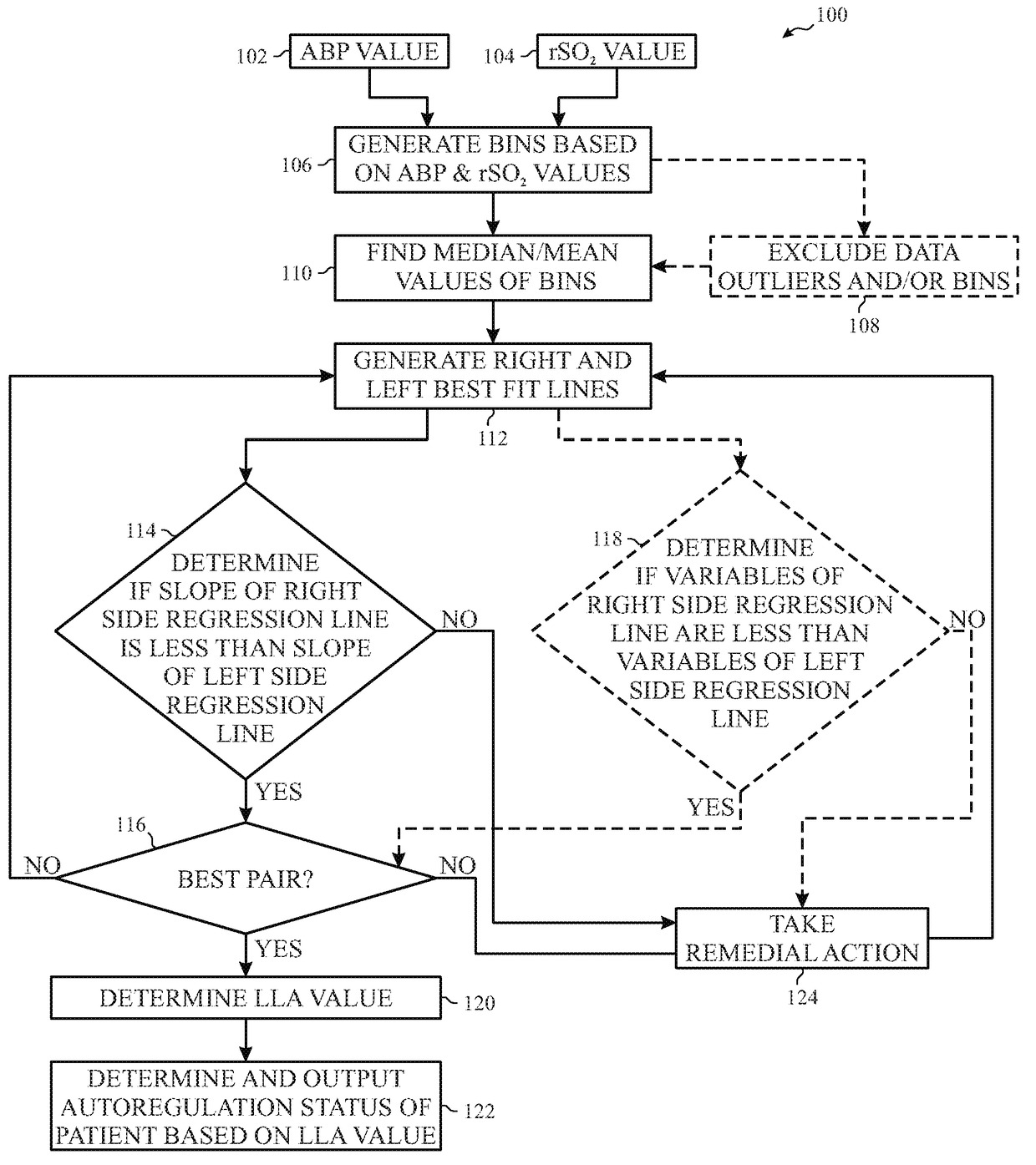
Systems and methods for optimizing autoregulation measurements
授权日:
2019-02-05
公开(公告)号:
US10194870
申请日:
2016-05-04
公开(公告)日:
2019-02-05
当前申请(专利权)人:
COVIDIEN LP
发明人:
MONTGOMERY, DEAN | ADDISON, PAUL S.
简单同族:
US10194870 | US20160345913A1
简单同族成员数量:
2
简单同族被引用专利总数:
8
诉讼案件数:
0
法律状态/事件:
授权 | 权利转移