首页
专利数据库
产业人才
行业动态
产业政策法规
维权援助
个人中心
登录/注册
详情
文本
图像
标题:
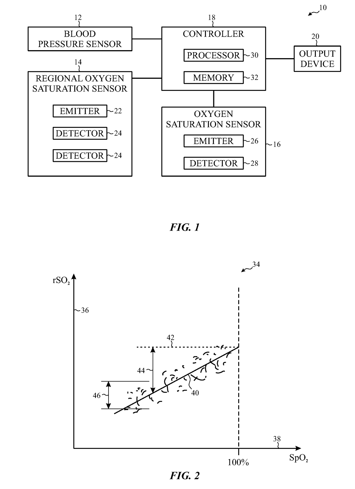
System and method for monitoring autoregulation utilizing normalized regional oxygen saturation values
授权日:
1900-01-01
公开(公告)号:
US20170095161A1
申请日:
2016-10-05
公开(公告)日:
2017-04-06
当前申请(专利权)人:
COVIDIEN LP
发明人:
ADDISON, PAUL STANLEY | WATSON, JAMES N. | MONTGOMERY, DEAN
简单同族:
CN108135505A | EP3359027A1 | US20170095161A1 | WO2017062458A1
简单同族成员数量:
4
简单同族被引用专利总数:
8
诉讼案件数:
0
法律状态/事件:
实质审查 | 权利转移