标题:
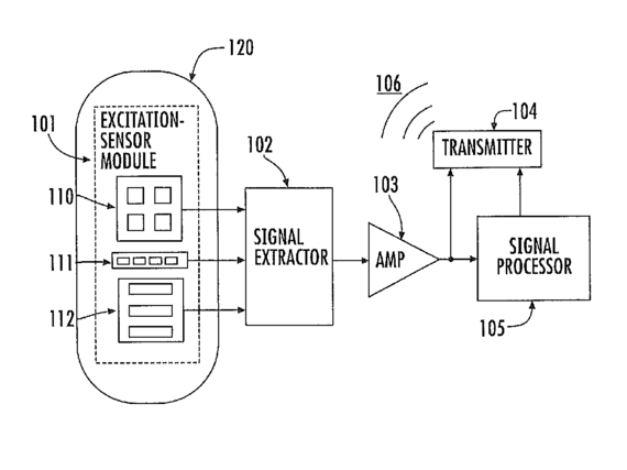
Noninvasive physiological analysis using excitation-sensor modules and related devices and methods
授权日:
2017-11-07
公开(公告)号:
US9808204
申请日:
2012-08-03
公开(公告)日:
2017-11-07
当前申请(专利权)人:
VALENCELL, INC.
发明人:
LEBOEUF, STEVEN FRANCIS | TUCKER, JESSE BERKLEY | AUMER, MICHAEL EDWARD
简单同族:
US20090112071A1 | US20120283577A1 | US20120283578A1 | US20120296184A1 | US20140012105A1 | US20150305682A1 | US20190029598A1 | US8251903 | US8512242 | US9044180 | US9808204
简单同族成员数量:
11
简单同族被引用专利总数:
249
诉讼案件数:
0
法律状态/事件:
授权