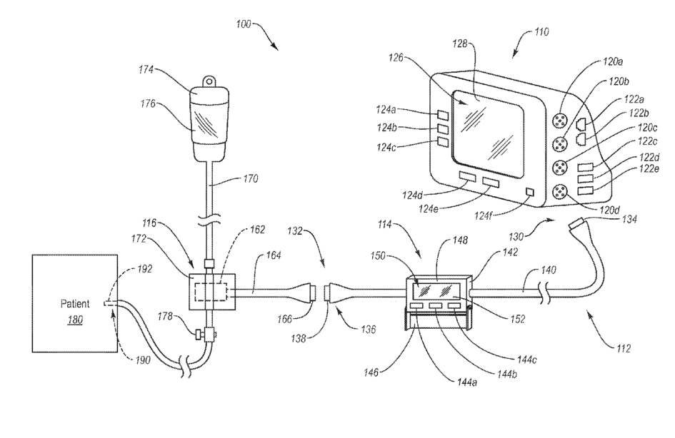
标题:
Cables for patient monitoring and related systems with integrated front end
授权日:
1900-01-01
公开(公告)号:
US20110152628A1
申请日:
2009-12-22
公开(公告)日:
2011-06-23
当前申请(专利权)人:
SHENZHEN MINDRAY BIO-MEDICAL ELECTRONICS CO. LTD.
发明人:
BALJI, JACK | RAJAGOPALAN, CADATHUR | EATON, SCOTT
简单同族:
CN102103661A | CN102103661B | US20110152628A1 | US20140350416A1 | US8797714 | US9198620
简单同族成员数量:
6
简单同族被引用专利总数:
11
诉讼案件数:
0
法律状态/事件:
授权 | 权利转移