首页
专利数据库
产业人才
行业动态
产业政策法规
维权援助
个人中心
登录/注册
详情
文本
图像
标题:
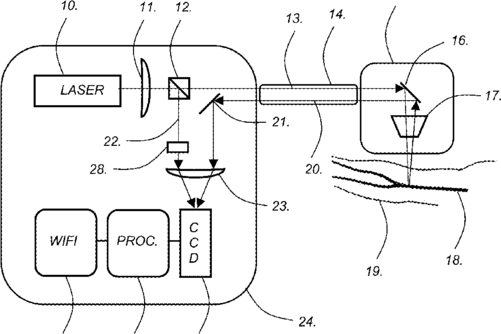
Continuous, non-invasive, optical blood pressure monitoring system
授权日:
2016-06-07
公开(公告)号:
US9357933
申请日:
2011-01-18
公开(公告)日:
2016-06-07
当前申请(专利权)人:
BALDWIN, DONNA | BALDWIN, MATTHEW JAMES
发明人:
BALDWIN, DONNA | BALDWIN, MATTHEW JAMES
简单同族:
US20110178415A1 | US9357933
简单同族成员数量:
2
简单同族被引用专利总数:
5
诉讼案件数:
0
法律状态/事件:
授权