首页
专利数据库
产业人才
行业动态
产业政策法规
维权援助
个人中心
登录/注册
详情
文本
图像
标题:
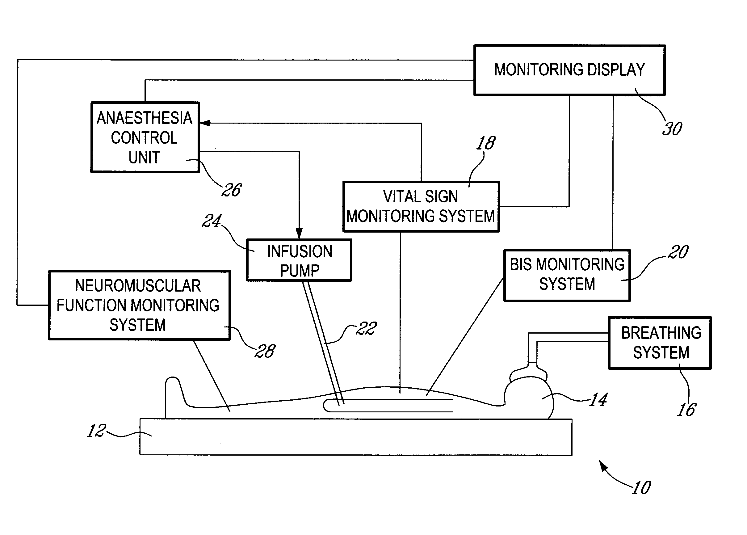
Method and system for administering an anaesthetic
授权日:
1900-01-01
公开(公告)号:
US20110137134A1
申请日:
2008-01-17
公开(公告)日:
2011-06-09
当前申请(专利权)人:
-
发明人:
HEMMERLING, THOMAS | SALHAB, EMILE | TRAGER, GUILLAUME | DESCHAMPS, STEPHANE | MATHIEU, PIERRE A.
简单同族:
CA2711445A1 | US20110137134A1 | WO2008086624A1
简单同族成员数量:
3
简单同族被引用专利总数:
69
诉讼案件数:
0
法律状态/事件:
撤回