首页
专利数据库
产业人才
行业动态
产业政策法规
维权援助
个人中心
登录/注册
详情
文本
图像
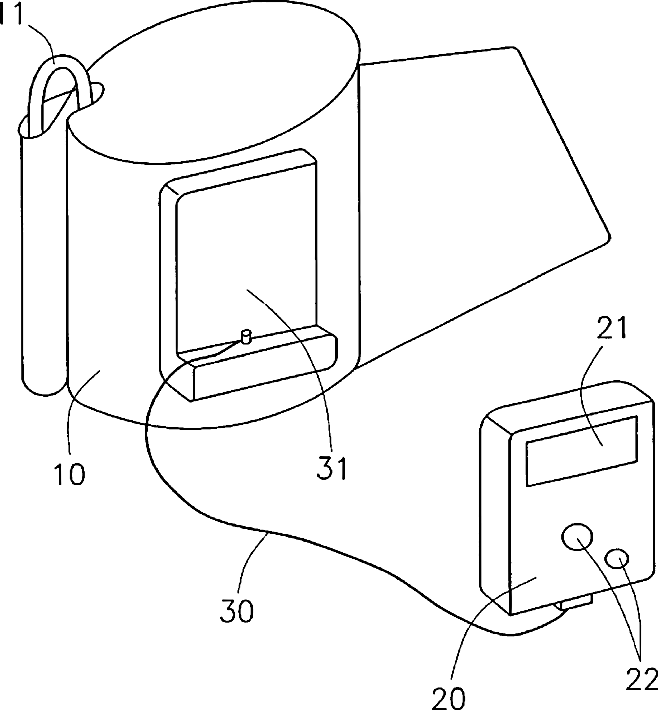
标题:
Blood pressure monitor
授权日:
2002-02-05
公开(公告)号:
US6344025
申请日:
2000-01-31
公开(公告)日:
2002-02-05
当前申请(专利权)人:
OMRON HEALTHCARE CO., LTD.
发明人:
INAGAKI, TAKASHI | OKU, SHOJIRO | MORI, KENTARO | KITAMURA, MITSURU
简单同族:
US6344025
简单同族成员数量:
1
简单同族被引用专利总数:
135
诉讼案件数:
0
法律状态/事件:
未缴年费 | 权利转移