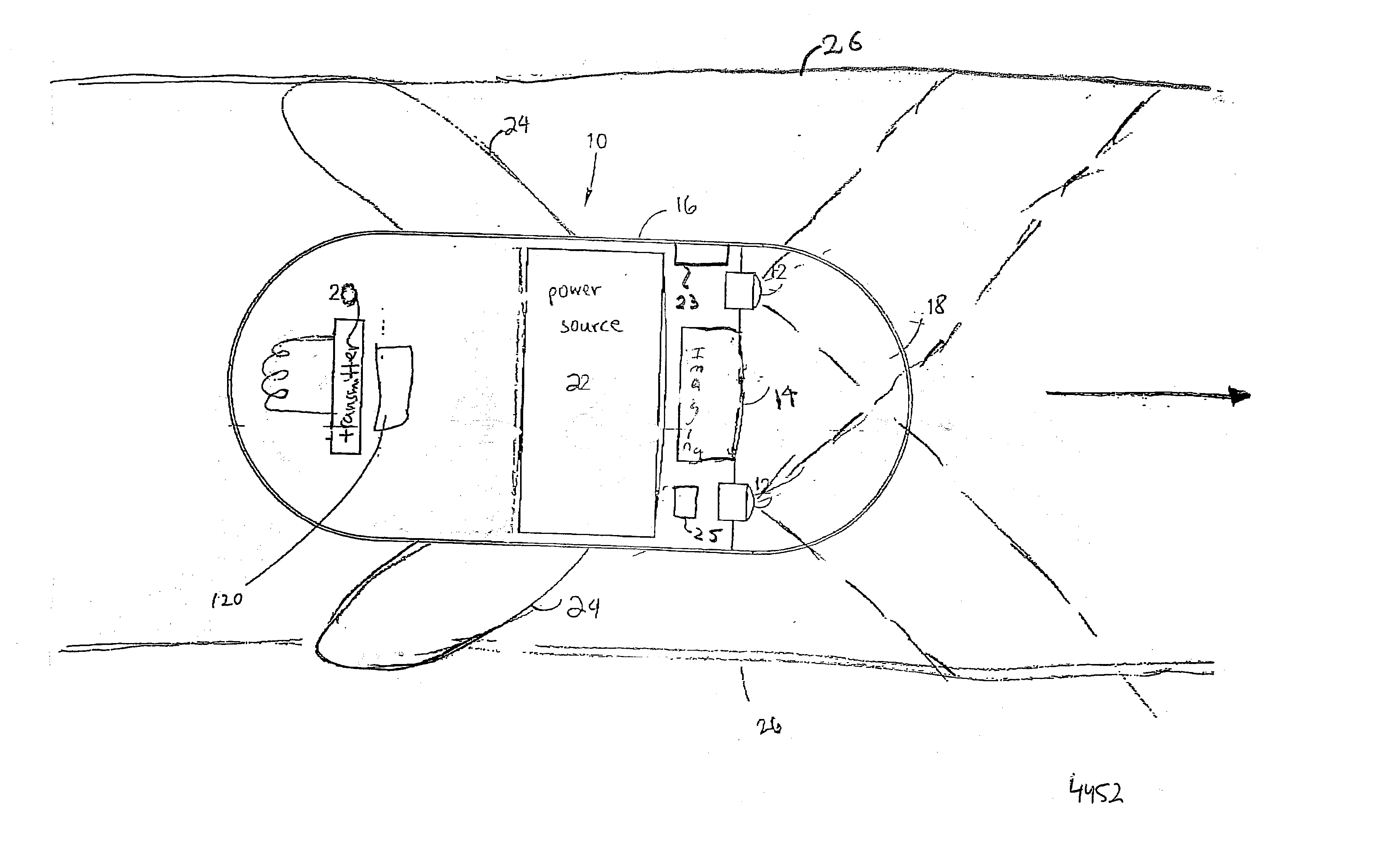
标题:
Device and method for orienting a device in vivo
授权日:
1900-01-01
公开(公告)号:
US20030216622A1
申请日:
2003-04-25
公开(公告)日:
2003-11-20
当前申请(专利权)人:
GIVEN IMAGING LTD.
发明人:
MERON, GAVRIEL | GLUKHOVSKY, ARKADY | JACOB, HAROLD | LEWKOWICZ, SHLOMO
简单同族:
AU2003222425A1 | IL155592A | IL155592D0 | JP2005523101A | US20030216622A1 | US20100137686A1 | WO2003090618A2 | WO2003090618A3
简单同族成员数量:
8
简单同族被引用专利总数:
318
诉讼案件数:
0
法律状态/事件:
撤回 | 权利转移