首页
专利数据库
产业人才
行业动态
产业政策法规
维权援助
个人中心
登录/注册
详情
文本
图像
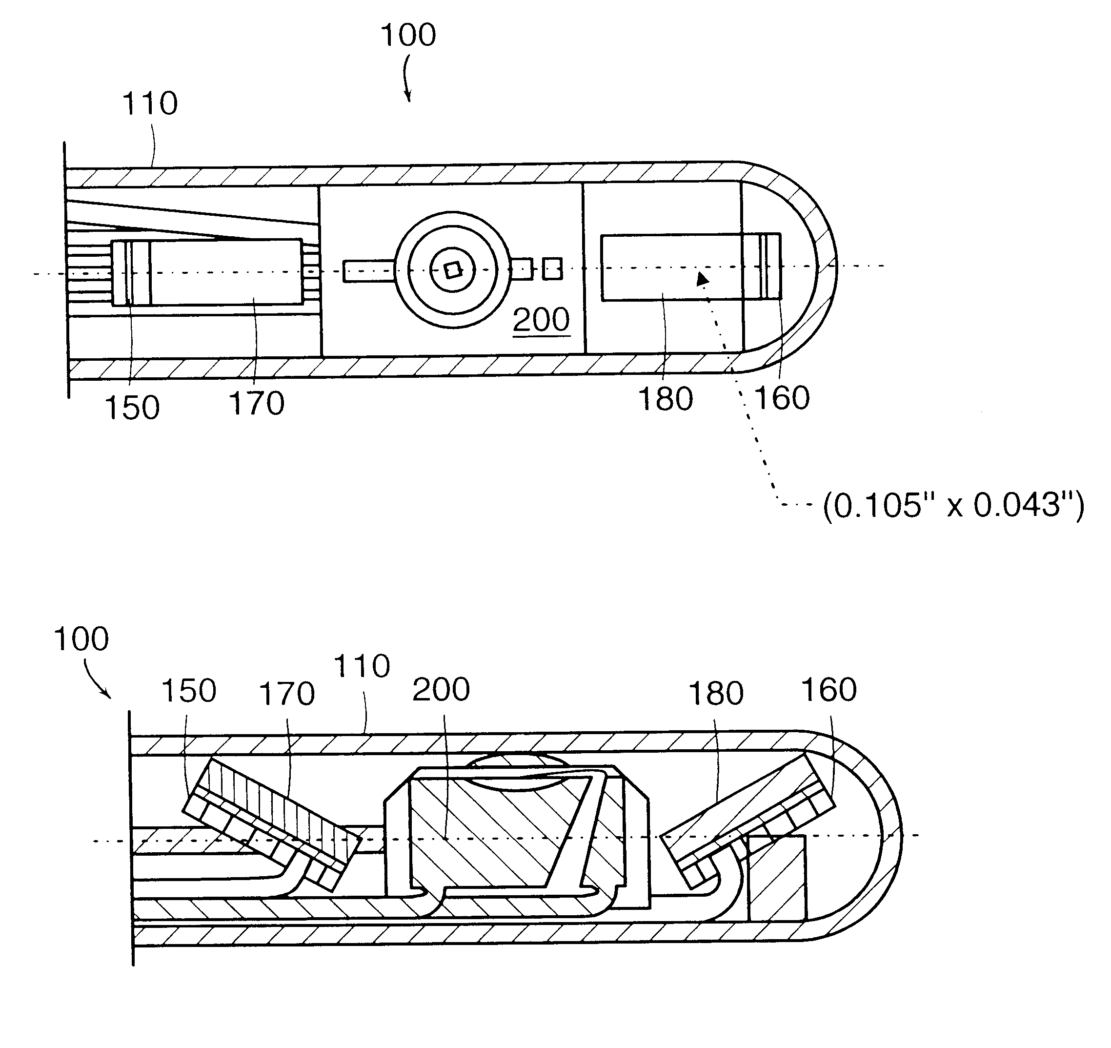
标题:
Miniature spectrometer system and method
授权日:
2002-06-11
公开(公告)号:
US6405073
申请日:
2000-10-18
公开(公告)日:
2002-06-11
当前申请(专利权)人:
BOSTON SCIENTIFIC SCIMED, INC.
发明人:
CROWLEY, ROBERT J. | HAMM, MARK
简单同族:
US6238348 | US6405073
简单同族成员数量:
2
简单同族被引用专利总数:
114
诉讼案件数:
0
法律状态/事件:
期限届满 | 权利转移