标题:
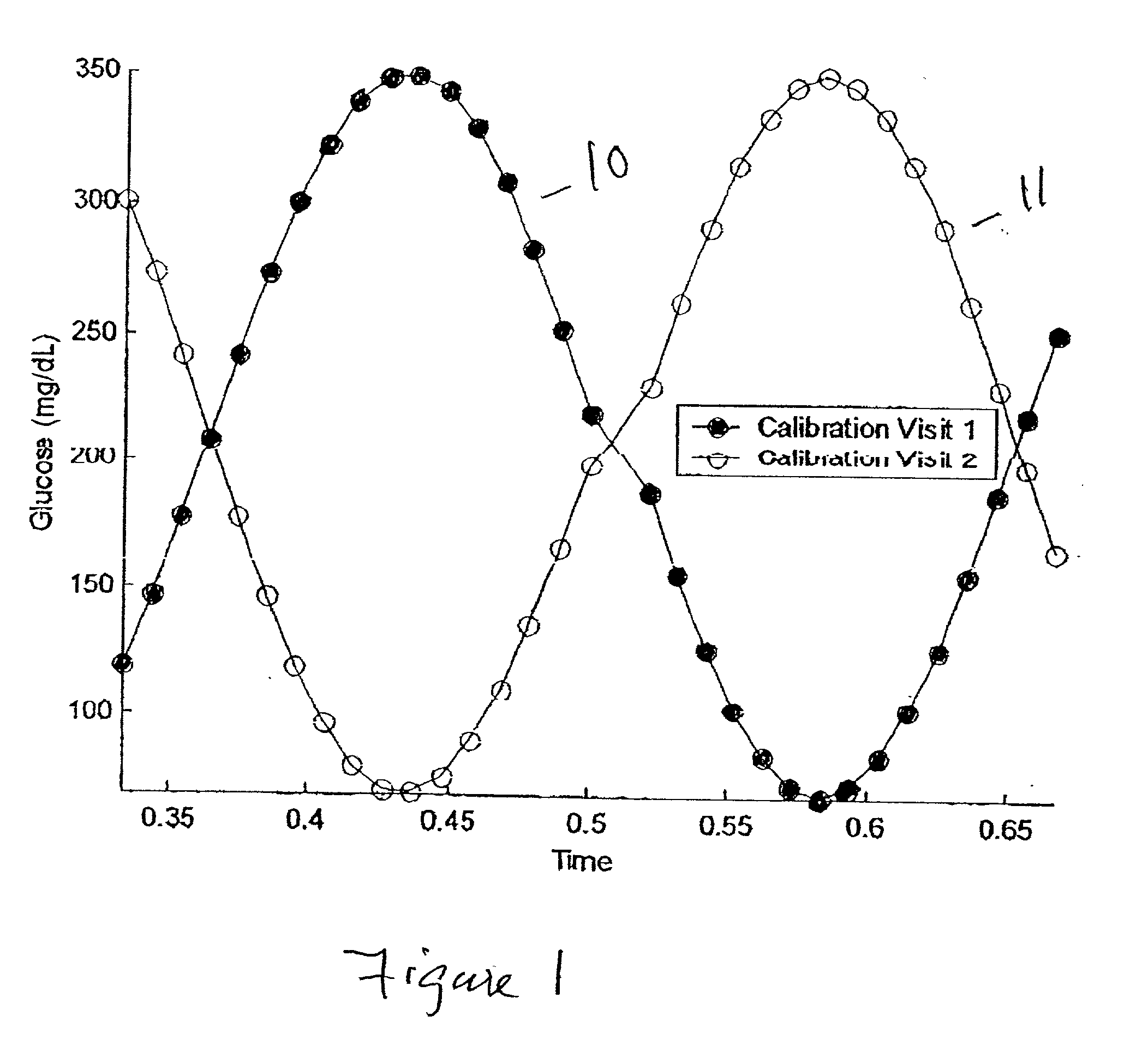
Use of targeted glycemic profiles in the calibration of a noninvasive blood glucose monitor
授权日:
1900-01-01
公开(公告)号:
US20020133063A1
申请日:
2001-01-18
公开(公告)日:
2002-09-19
当前申请(专利权)人:
GLT ACQUISITION CORP.
发明人:
HOCKERSMITH, LINDA | BLANK, THOMAS B. | MONFRE, STEPHEN L. | RUCHTI, TIMOTHY L.
简单同族:
AU2002227353A1 | EP1359839A2 | EP1359839A4 | HK1061342A | TW592666B | US20020133063A1 | US6487429 | WO2002057740A2 | WO2002057740A3
简单同族成员数量:
9
简单同族被引用专利总数:
154
诉讼案件数:
0
法律状态/事件:
未缴年费 | 质押 | 权利转移