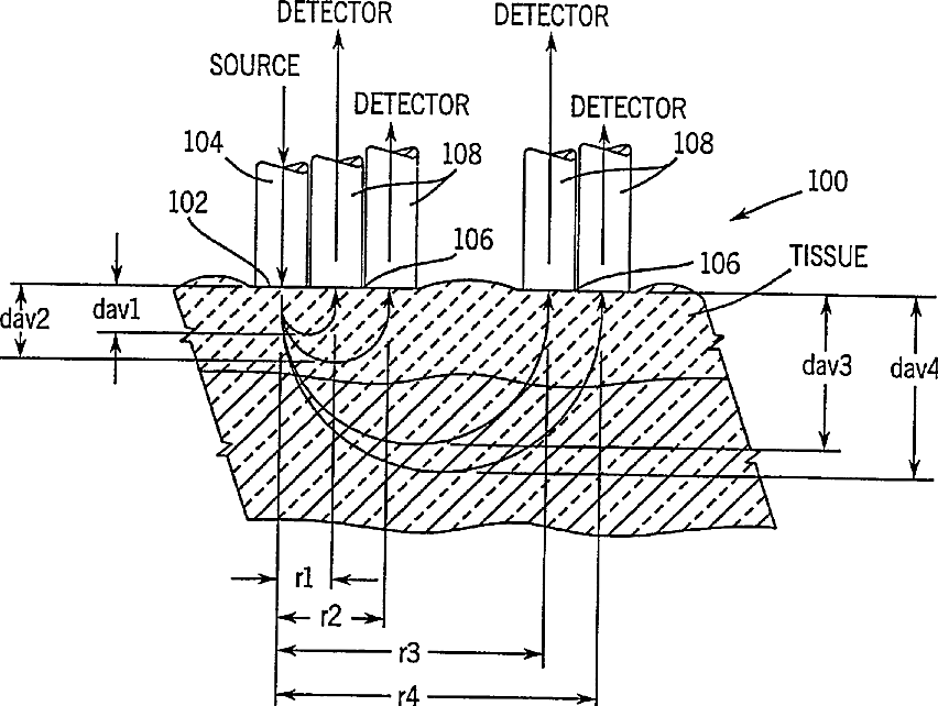
标题:
Non-invasive sensor capable of determining optical parameters in a sample having multiple layers
授权日:
1900-01-01
公开(公告)号:
US20020084417A1
申请日:
2001-12-21
公开(公告)日:
2002-07-04
当前申请(专利权)人:
ABBOTT LABORATORIES
发明人:
KHALIL, OMAR S. | WU, XIAOMAO | KANGER, JOHANNES SAKE | BOLT, RENE ALEXANDER | YEH, SHU-JEN | HANNA, CHARLES F. | MARIA DE MUL, FRITS FRANS
简单同族:
CA2352201A1 | EP1133253A1 | JP2003510556A | US20020084417A1 | US6353226 | US6630673 | WO2000030530A1
简单同族成员数量:
7
简单同族被引用专利总数:
369
诉讼案件数:
0
法律状态/事件:
期限届满