首页
专利数据库
产业人才
行业动态
产业政策法规
维权援助
个人中心
登录/注册
详情
文本
图像
标题:
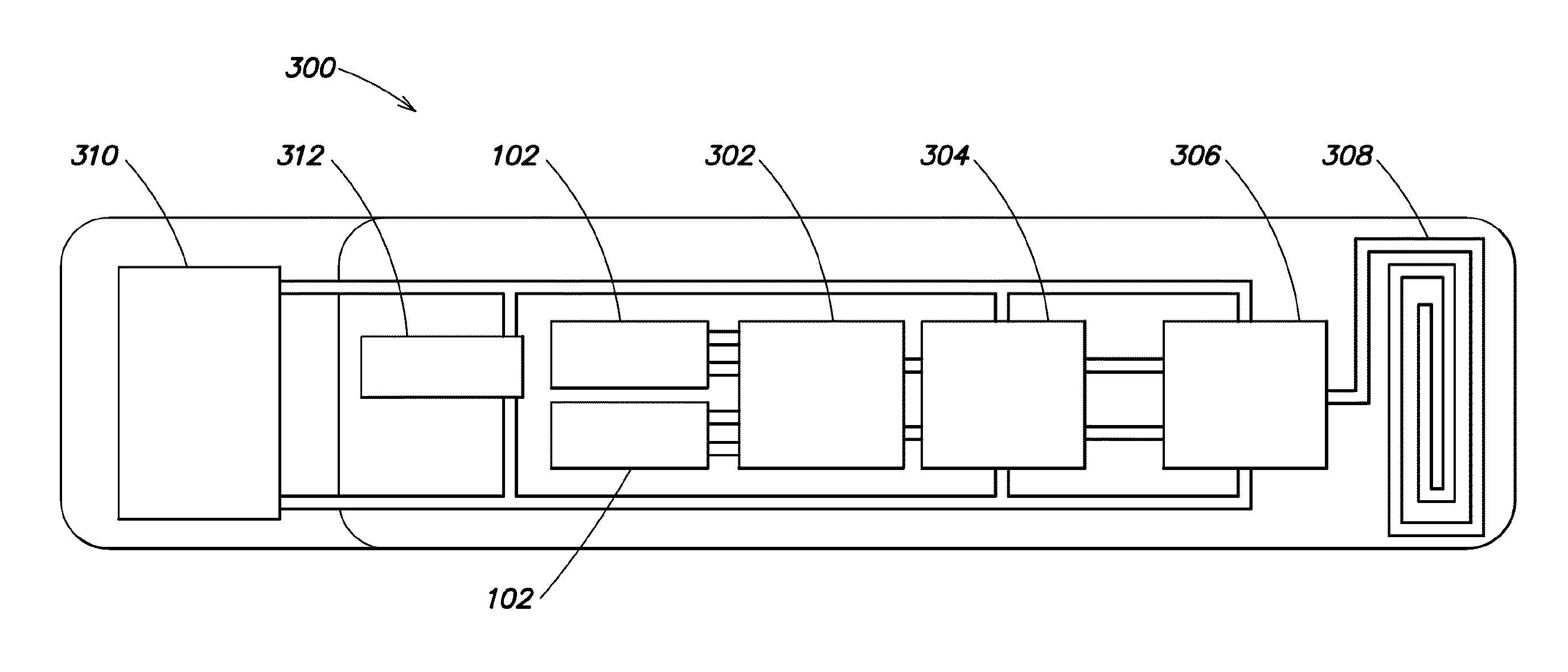
Electronics for detection of a property of a surface
授权日:
1900-01-01
公开(公告)号:
US20130200268A1
申请日:
2012-09-28
公开(公告)日:
2013-08-08
当前申请(专利权)人:
MC10, INC.
发明人:
RAFFERTY, CONOR | HSU, YUNG-YU | SCHLATKA, BENJAMIN | CALLSEN, GILMAN
简单同族:
BR112014007634A2 | CN103946680A | EP2764335A1 | EP2764335A4 | JP2014532178A | US20130200268A1 | WO2013049716A1
简单同族成员数量:
7
简单同族被引用专利总数:
80
诉讼案件数:
0
法律状态/事件:
撤回 | 权利转移