首页
专利数据库
产业人才
行业动态
产业政策法规
维权援助
个人中心
登录/注册
详情
文本
图像
标题:
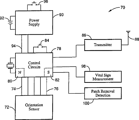
Attitude indicator and activity monitoring device
授权日:
2006-10-24
公开(公告)号:
US7127370
申请日:
2003-04-11
公开(公告)日:
2006-10-24
当前申请(专利权)人:
NOCWATCH INTERNATIONAL, INC.
发明人:
KELLY, JR., PAUL B. | SCHOENDORFER, DONALD W. | SIMMONS, JEFFREY L.
简单同族:
US20040010390A1 | US7127370
简单同族成员数量:
2
简单同族被引用专利总数:
258
诉讼案件数:
0
法律状态/事件:
未缴年费 | 权利转移