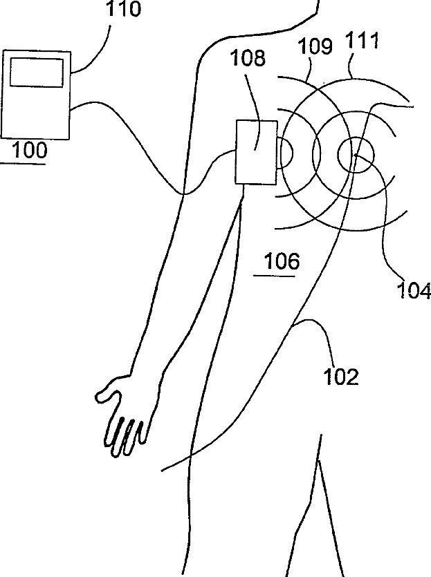
标题:
Method and sensor for wireless measurement of physiological variables
授权日:
1900-01-01
公开(公告)号:
US20020013527A1
申请日:
2001-09-12
公开(公告)日:
2002-01-31
当前申请(专利权)人:
ST. JUDE MEDICAL COORDINATION CENTER BVBA
发明人:
HOEK, BERTIL | TENERZ, LARS | HAMMARSTROEM, OLA | BENKOWSKI, PER | MALMBORG, PAER VON
简单同族:
AT290820T | DE69924290D1 | DE69924290T2 | EP1139875A2 | EP1139875B1 | US20020013527A1 | US6312380 | US6517481 | WO2000038567A2 | WO2000038567A3
简单同族成员数量:
10
简单同族被引用专利总数:
148
诉讼案件数:
0
法律状态/事件:
期限届满 | 权利转移