首页
专利数据库
产业人才
行业动态
产业政策法规
维权援助
个人中心
登录/注册
详情
文本
图像
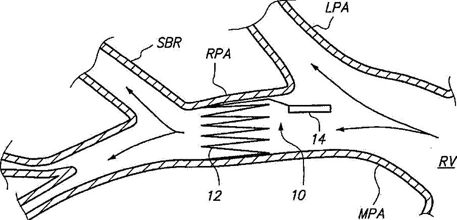
标题:
Devices For Fixing A Sensor In A Lumen
授权日:
1900-01-01
公开(公告)号:
US20070129637A1
申请日:
2006-11-14
公开(公告)日:
2007-06-07
当前申请(专利权)人:
REMON MEDICAL TECHNOLOGIES, LTD.
发明人:
WOLINSKY, LONE | BEN-YOSEPH, ALON | PENNER, ABRAHAM
简单同族:
US10390714 | US20070129637A1
简单同族成员数量:
2
简单同族被引用专利总数:
65
诉讼案件数:
0
法律状态/事件:
授权 | 权利转移