标题:
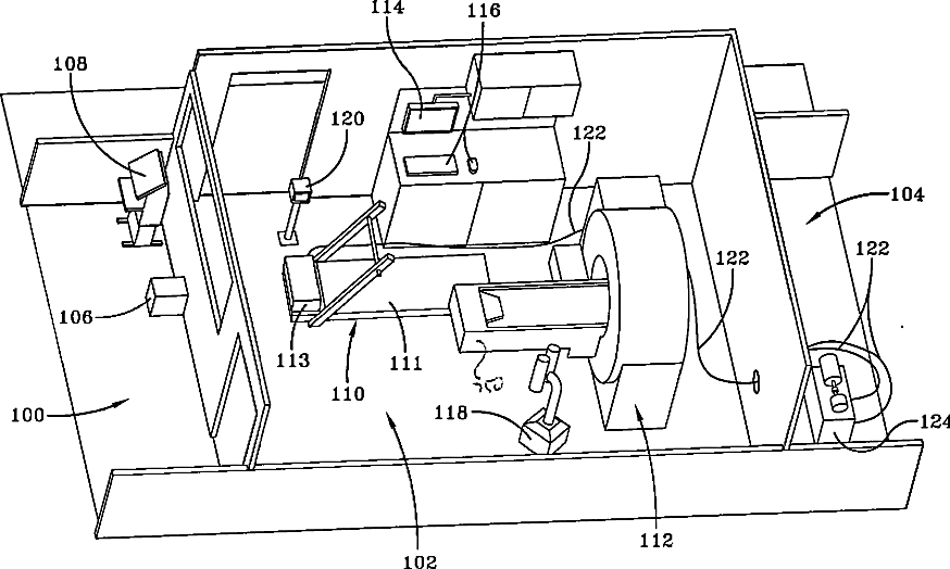
System and method for cardiovascular exercise stress MRI
授权日:
1900-01-01
公开(公告)号:
US20130231551A1
申请日:
2012-08-31
公开(公告)日:
2013-09-05
当前申请(专利权)人:
THE OHIO STATE UNIVERSITY
发明人:
SIMONETTI, ORLANDO PAUL | FOSTER, ERIC LEE | ARNOLD, JOHN WAYNE | RAMAN, SUBHA V.
简单同族:
US20090259121A1 | US20130231551A1 | WO2008049109A2 | WO2008049109A3
简单同族成员数量:
4
简单同族被引用专利总数:
16
诉讼案件数:
0
法律状态/事件:
撤回