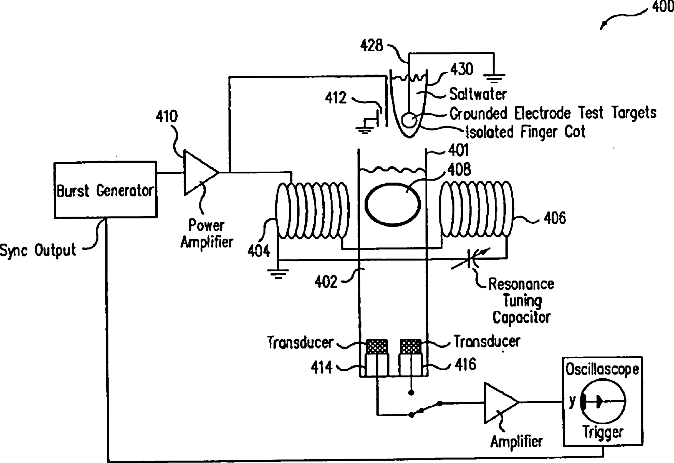
标题:
Electromagnetic-acoustic imaging
授权日:
2005-12-13
公开(公告)号:
US6974415
申请日:
2003-05-22
公开(公告)日:
2005-12-13
当前申请(专利权)人:
EMERSON, JANE F | CERWIN, STEPHEN A | CHANG, DAVID B | MCNAUGHTON, STUART
发明人:
CERWIN, STEPHEN ANTHONY | CHANG, DAVID B. | DRUMMOND, JAMES E. | EMERSON, JANE F. | MCNAUGHTON, STUART
简单同族:
US20040236217A1 | US6974415 | WO2004105582A2 | WO2004105582A3
简单同族成员数量:
4
简单同族被引用专利总数:
115
诉讼案件数:
0
法律状态/事件:
未缴年费 | 权利转移