标题:
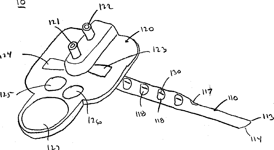
Disposable needle assembly having sensors formed therein permitting the simultaneous drawing and administering of fluids and method of forming the same
授权日:
1900-01-01
公开(公告)号:
US20030208154A1
申请日:
2002-05-01
公开(公告)日:
2003-11-06
当前申请(专利权)人:
MEDTG, LLC
发明人:
CLOSE, BENJAMIN W. | HALL, THOMAS A. III
简单同族:
AU2003239334A1 | AU2003239334A8 | US20030208154A1 | US6758835 | WO2003092766A2 | WO2003092766A3
简单同族成员数量:
6
简单同族被引用专利总数:
108
诉讼案件数:
0
法律状态/事件:
授权 | 权利转移