首页
专利数据库
产业人才
行业动态
产业政策法规
维权援助
个人中心
登录/注册
详情
文本
图像
标题:
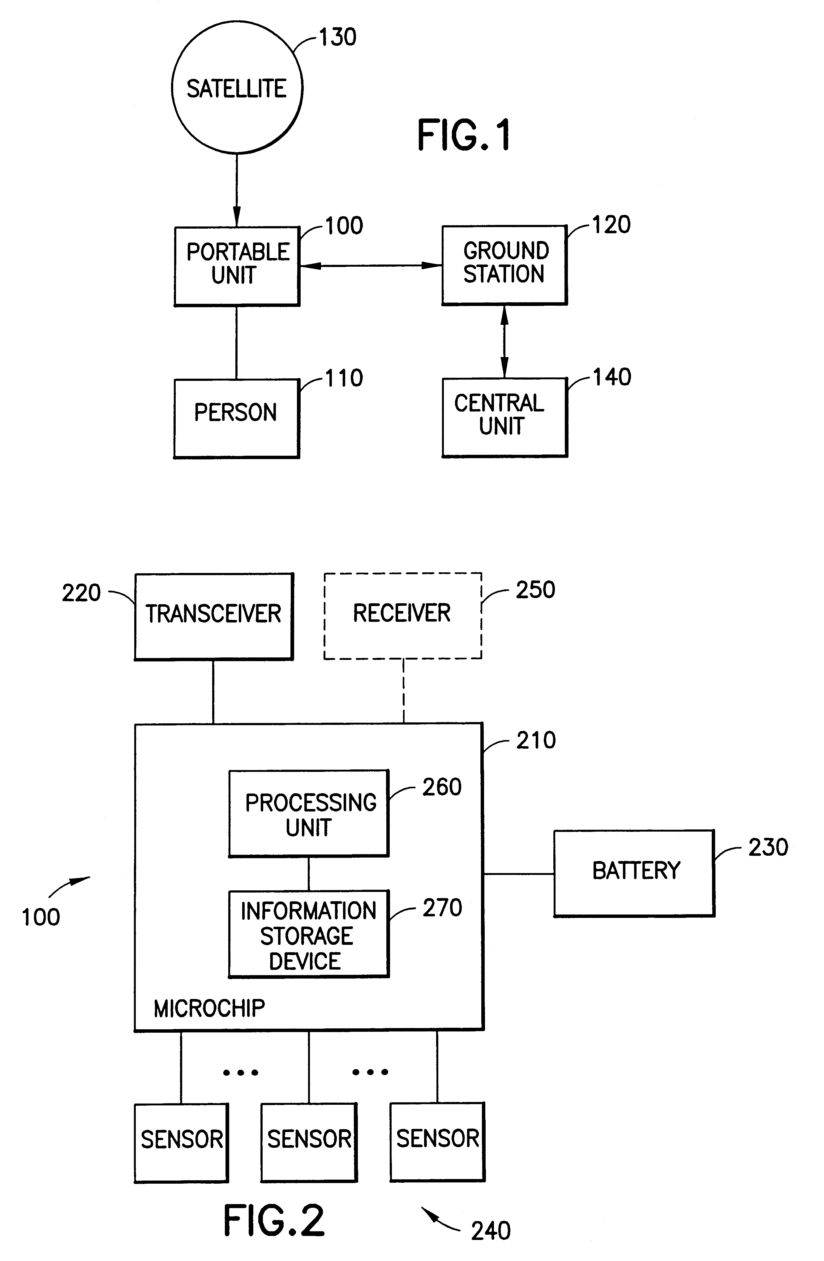
System and method for remote monitoring utilizing a rechargeable battery
授权日:
2003-05-06
公开(公告)号:
US6559620
申请日:
2001-03-21
公开(公告)日:
2003-05-06
当前申请(专利权)人:
RATEZE REMOTE MGMT. L.L.C.
发明人:
ZHOU, PETER Y. | PANG, DEXING
简单同族:
US20020135336A1 | US6559620
简单同族成员数量:
2
简单同族被引用专利总数:
298
诉讼案件数:
0
法律状态/事件:
授权 | 质押 | 权利转移