首页
专利数据库
产业人才
行业动态
产业政策法规
维权援助
个人中心
登录/注册
详情
文本
图像
标题:
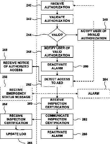
Medical device information system
授权日:
2009-03-31
公开(公告)号:
US7510526
申请日:
2004-12-30
公开(公告)日:
2009-03-31
当前申请(专利权)人:
PHYSIO-CONTROL, INC.
发明人:
MERRY, RANDY L. | CILIBERTI, MOLLY | BROWNE, DAVID W.
简单同族:
US20060149323A1 | US20090149894A1 | US7510526 | WO2006073848A1
简单同族成员数量:
4
简单同族被引用专利总数:
167
诉讼案件数:
0
法律状态/事件:
授权 | 质押 | 权利转移