首页
专利数据库
产业人才
行业动态
产业政策法规
维权援助
个人中心
登录/注册
详情
文本
图像
标题:
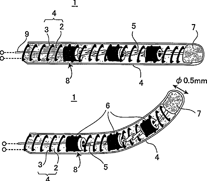
Active guide wire and method of making the same
授权日:
1900-01-01
公开(公告)号:
US20030097080A1
申请日:
2002-06-06
公开(公告)日:
2003-05-22
当前申请(专利权)人:
ESASHI, MASAYOSHI | HAGA, YOICHI
发明人:
ESASHI, MASAYOSHI | HAGA, YOICHI | MINETA, TAKASHI
简单同族:
JP2003154010A | JP4403571B2 | US20030097080A1 | US6936015
简单同族成员数量:
4
简单同族被引用专利总数:
72
诉讼案件数:
0
法律状态/事件:
未缴年费 | 权利转移