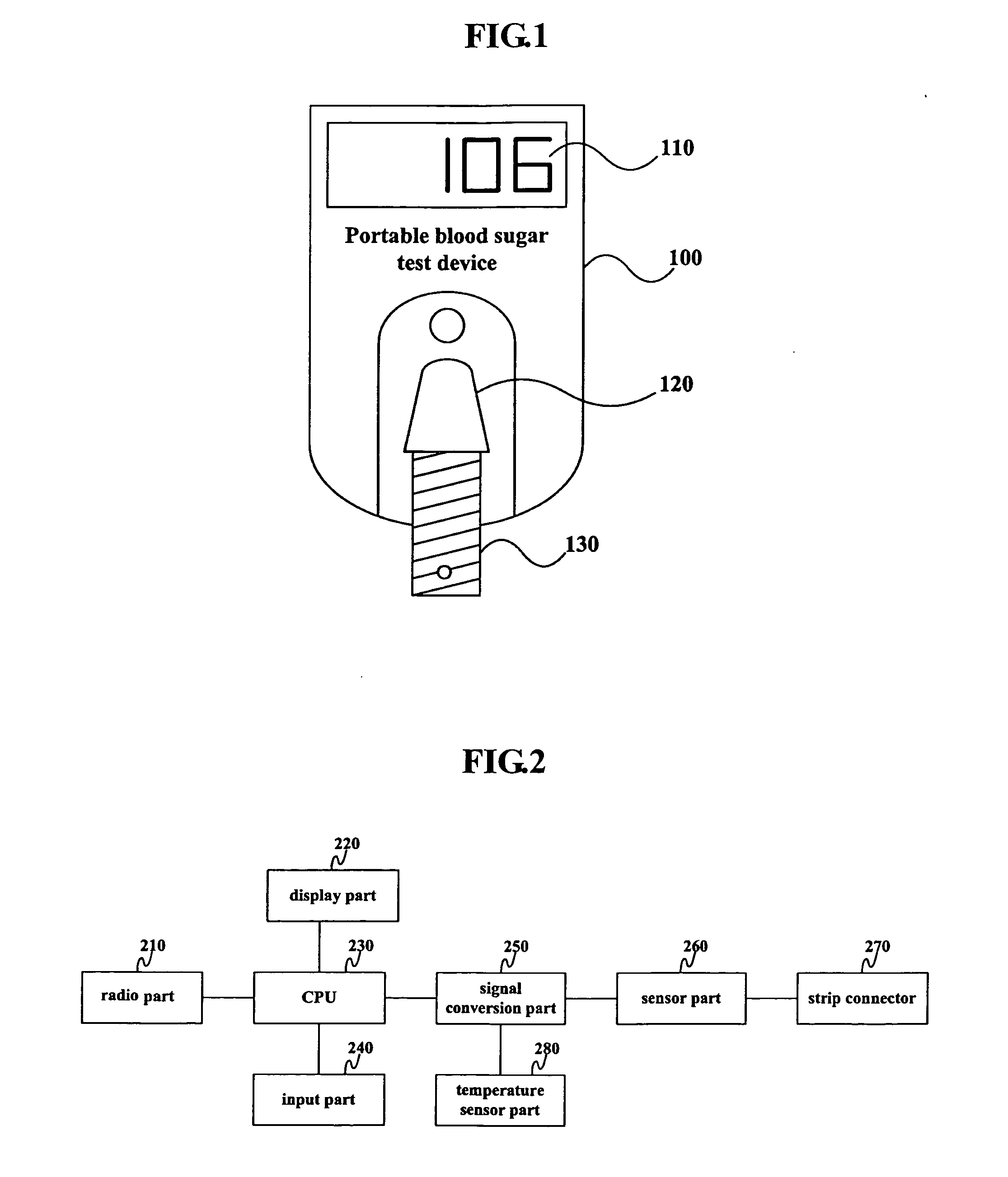
标题:
Blood sugar tester and data uploading method
授权日:
1900-01-01
公开(公告)号:
US20050019848A1
申请日:
2003-05-14
公开(公告)日:
2005-01-27
当前申请(专利权)人:
MEDIVENTURE CO., LTD.
发明人:
LEE, MIN-HWA | KIM, MOON-SOO
简单同族:
AU2003230341A1 | CN1662173A | EP1503659A1 | EP1503659A4 | JP2005525161A | JP4005598B2 | KR100472092B1 | KR1020030088683A | US20050019848A1 | WO2003094713A1
简单同族成员数量:
10
简单同族被引用专利总数:
78
诉讼案件数:
0
法律状态/事件:
撤回 | 权利转移