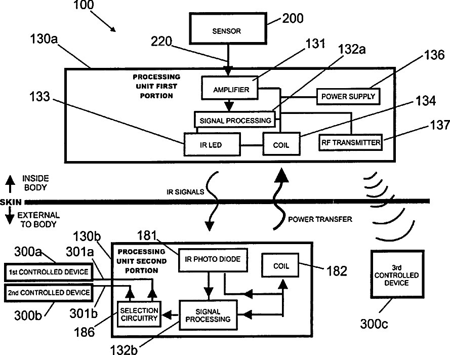
标题:
Biological interface system
授权日:
1900-01-01
公开(公告)号:
US20060173259A1
申请日:
2005-10-03
公开(公告)日:
2006-08-03
当前申请(专利权)人:
BRAINGATE CO., LLC
发明人:
FLAHERTY, J. CHRISTOPHER | BARRETT, BURKE T. | DONOGHUE, JOHN P. | VAN WAGENEN, RICHARD A. | SMITH, CHRISTOPHER | PUNGOR, ANDRAS | DECARIA, CHRISTINE | BRANNER, ALMUT | HARVEY, NEPHI | MISENER, ANTHONY K. | GUILLORY, K. SHANE | JOSEPH, JON P.
简单同族:
EP1827207A2 | US20060173259A1 | US8560041 | WO2006041738A2 | WO2006041738A3
简单同族成员数量:
5
简单同族被引用专利总数:
319
诉讼案件数:
0
法律状态/事件:
授权 | 权利转移