首页
专利数据库
产业人才
行业动态
产业政策法规
维权援助
个人中心
登录/注册
详情
文本
图像
标题:
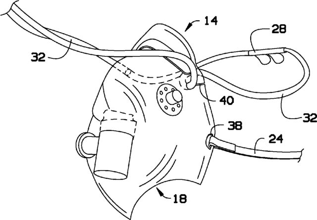
Oxygen face mask with capnometer and side port
授权日:
2016-04-05
公开(公告)号:
US9302064
申请日:
2012-10-17
公开(公告)日:
2016-04-05
当前申请(专利权)人:
HUSSAIN, SHABINA M
发明人:
HUSSAIN, SHABINA M
简单同族:
US20140107517A1 | US9302064
简单同族成员数量:
2
简单同族被引用专利总数:
16
诉讼案件数:
0
法律状态/事件:
授权