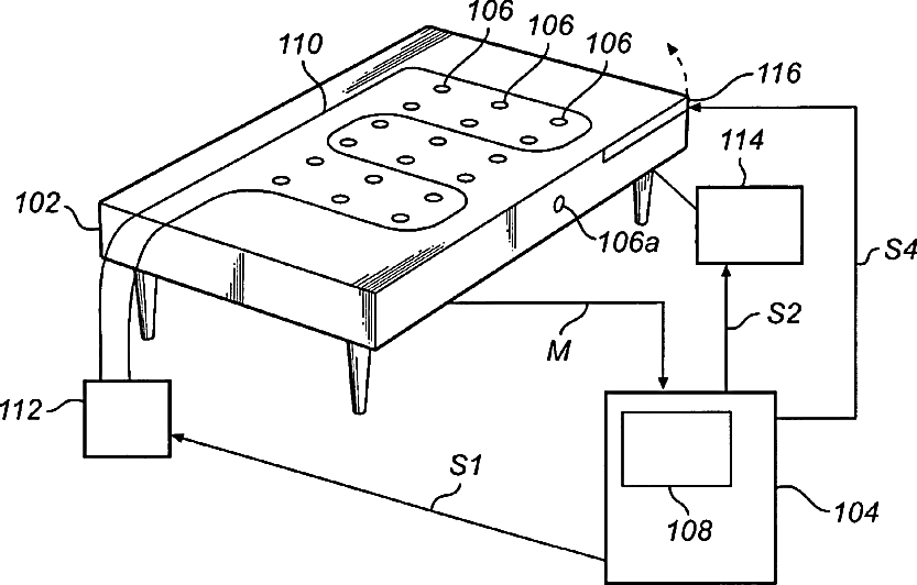
标题:
Device and method for controlling physical properties of a bed
授权日:
1900-01-01
公开(公告)号:
US20060162074A1
申请日:
2004-02-02
公开(公告)日:
2006-07-27
当前申请(专利权)人:
BADER GABY
发明人:
BADER, GABY
简单同族:
CA2513209A1 | CN1741782A | CN1741782B | EP1589922A1 | JP2006516925A | NO20053641A | NO20053641D0 | NO20053641L | NO329538B1 | PL207611B1 | PL377271A1 | SE0300280D0 | SE0300280L | SE524903C2 | US20060162074A1 | WO2004082549A1
简单同族成员数量:
16
简单同族被引用专利总数:
141
诉讼案件数:
0
法律状态/事件:
撤回