首页
专利数据库
产业人才
行业动态
产业政策法规
维权援助
个人中心
登录/注册
详情
文本
图像
标题:
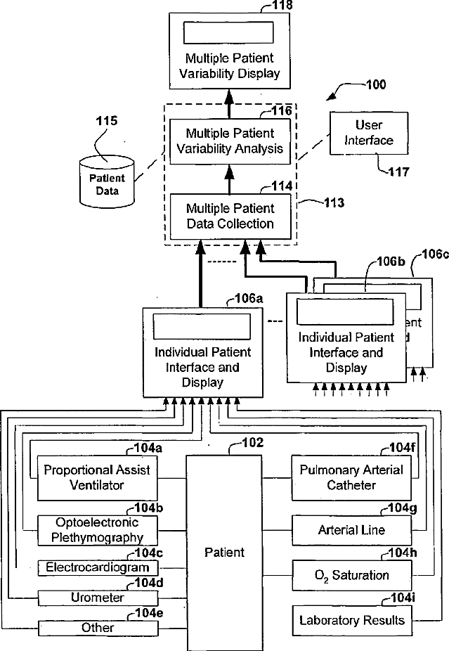
Method and apparatus for multiple patient parameter variability analysis and display
授权日:
1900-01-01
公开(公告)号:
US20030117296A1
申请日:
2001-07-03
公开(公告)日:
2003-06-26
当前申请(专利权)人:
SEELY ANDREW J E
发明人:
SEELY, ANDREW J.E.
简单同族:
AU2001072249A1 | CA2418003A1 | CA2418003C | US20030117296A1 | US7038595 | USR41236 | WO2002002006A1
简单同族成员数量:
7
简单同族被引用专利总数:
232
诉讼案件数:
0
法律状态/事件:
授权