标题:
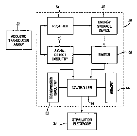
Acoustically powered implantable stimulating device
授权日:
2007-10-16
公开(公告)号:
US7283874
申请日:
2003-07-31
公开(公告)日:
2007-10-16
当前申请(专利权)人:
REMON MEDICAL TECHNOLOGIES LTD.
发明人:
PENNER, AVI
简单同族:
EP1648559A1 | EP1648559B1 | US20040172083A1 | US20080108915A1 | US20110160804A1 | US20130218251A1 | US20130226259A1 | US20130238044A1 | US7283874 | US7930031 | US8577460 | US8934972 | WO2005009535A1
简单同族成员数量:
13
简单同族被引用专利总数:
434
诉讼案件数:
0
法律状态/事件:
授权 | 权利转移