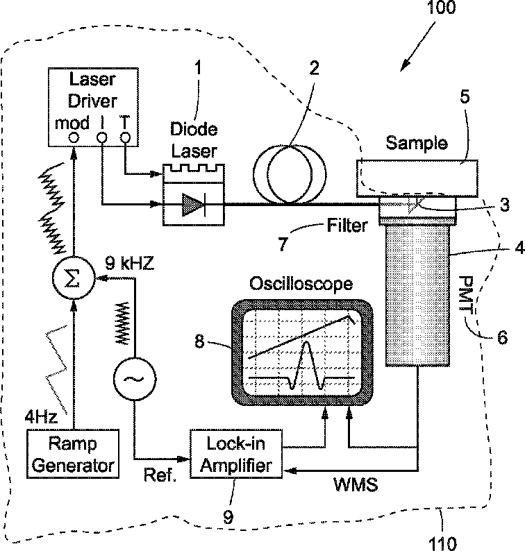
标题:
Human cavity gas measurement device and method
授权日:
2012-05-29
公开(公告)号:
US8190240
申请日:
2006-04-18
公开(公告)日:
2012-05-29
当前申请(专利权)人:
GPX MEDICAL AB
发明人:
SVANBERG, SUNE | PERSON, LINDA | SVANBERG, KATARINA
简单同族:
EP1871221A1 | EP1871221A4 | EP1871221B1 | JP2008536557A | JP2008536557A5 | JP2013176636A | JP5583340B2 | US20090118646A1 | US8190240 | WO2006112789A1
简单同族成员数量:
10
简单同族被引用专利总数:
15
诉讼案件数:
0
法律状态/事件:
授权 | 权利转移