首页
专利数据库
产业人才
行业动态
产业政策法规
维权援助
个人中心
登录/注册
详情
文本
图像
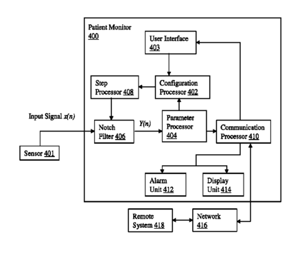
标题:
Adaptive notch filter
授权日:
2017-08-22
公开(公告)号:
US9737265
申请日:
2012-04-20
公开(公告)日:
2017-08-22
当前申请(专利权)人:
DRÄGERWERK AG & CO. KGAA
发明人:
ZHENG, LING | CHEN, YU
简单同族:
CN103813746A | CN103813746B | EP2699149A1 | US20140039824A1 | US9737265 | WO2012145571A1
简单同族成员数量:
6
简单同族被引用专利总数:
10
诉讼案件数:
0
法律状态/事件:
授权 | 权利转移