首页
专利数据库
产业人才
行业动态
产业政策法规
维权援助
个人中心
登录/注册
详情
文本
图像
标题:
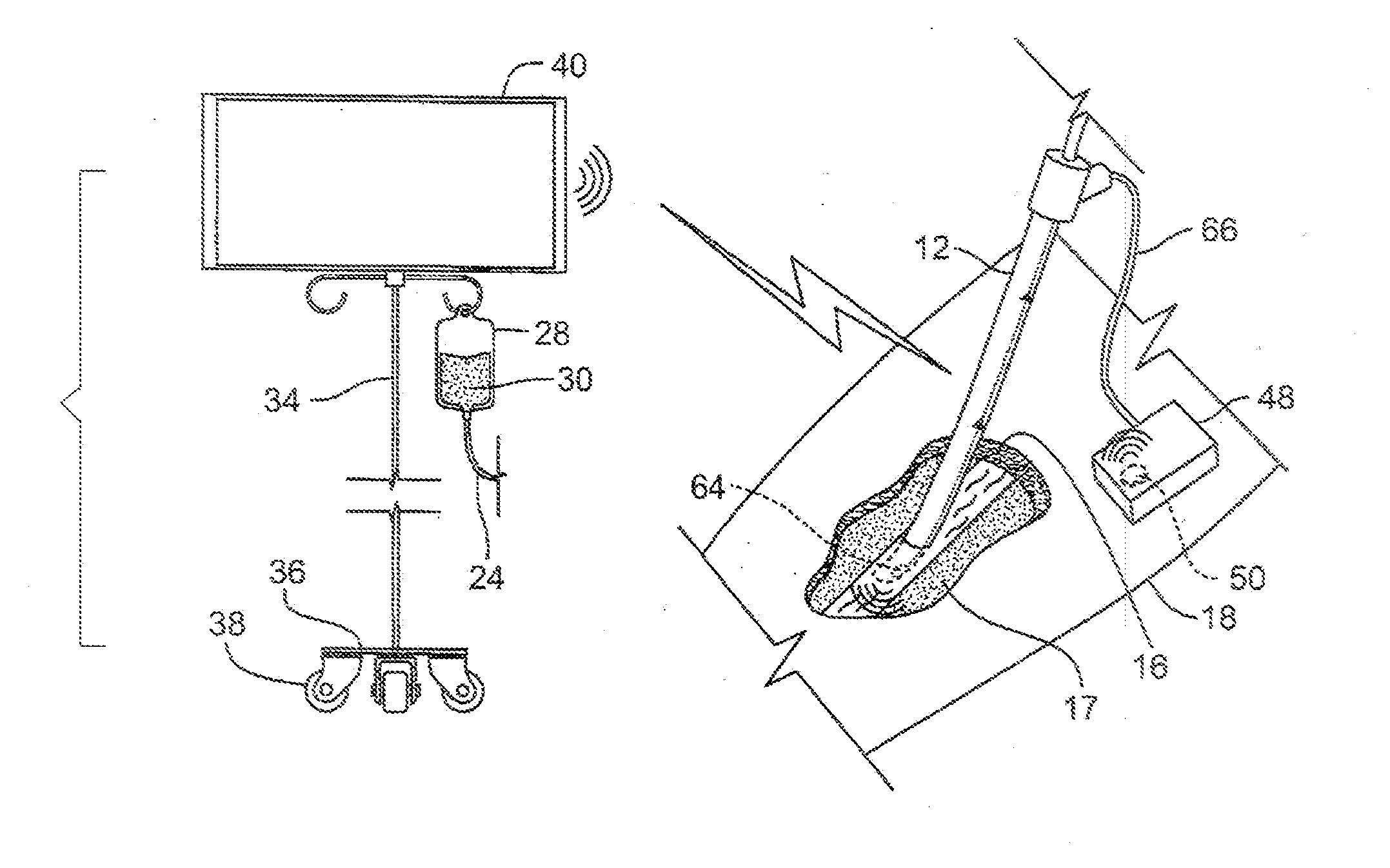
Intravenous apparatus and method
授权日:
1900-01-01
公开(公告)号:
US20130338480A1
申请日:
2012-06-18
公开(公告)日:
2013-12-19
当前申请(专利权)人:
SMART IV LLC
发明人:
HANN, LENN
简单同族:
US20130338480A1 | US8700133 | WO2013192204A1
简单同族成员数量:
3
简单同族被引用专利总数:
17
诉讼案件数:
0
法律状态/事件:
未缴年费 | 权利转移