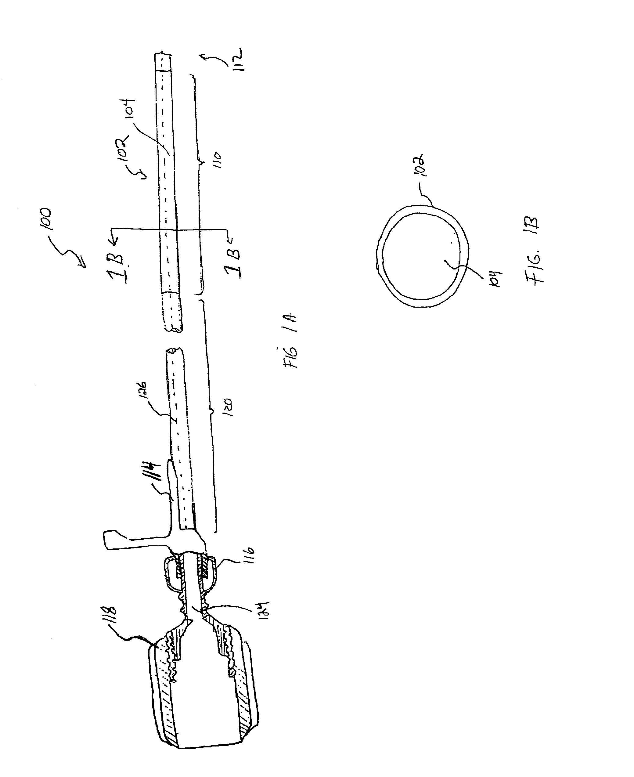
标题:
Intraluminal visualization system with deflectable mechanism
授权日:
1900-01-01
公开(公告)号:
US20010044624A1
申请日:
2001-03-30
公开(公告)日:
2001-11-22
当前申请(专利权)人:
MEDTRONIC, INC.
发明人:
SERAJ, MAHMOUD K. | CHAN, ERIC | KELLEY, JAMES F.
简单同族:
DE60119503D1 | DE60119503T2 | EP1267986A2 | EP1267986B1 | US20010044624A1 | US6743227 | WO2001072368A2 | WO2001072368A3 | WO2001072368B1
简单同族成员数量:
9
简单同族被引用专利总数:
167
诉讼案件数:
0
法律状态/事件:
授权 | 权利转移