首页
专利数据库
产业人才
行业动态
产业政策法规
维权援助
个人中心
登录/注册
详情
文本
图像
标题:
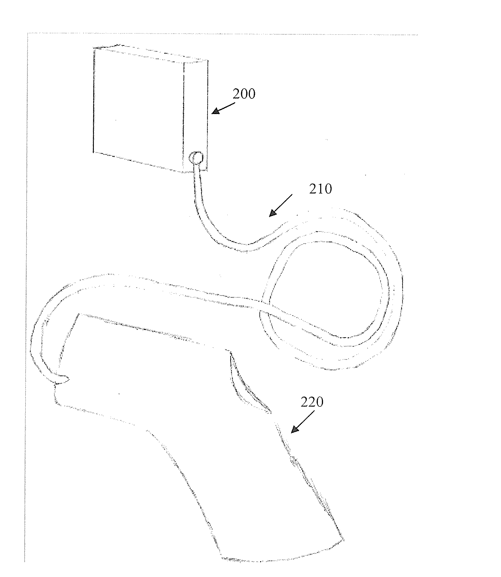
Joint sensor devices and methods
授权日:
1900-01-01
公开(公告)号:
US20140128689A1
申请日:
2012-04-06
公开(公告)日:
2014-05-08
当前申请(专利权)人:
NORTHEASTERN UNIVERSITY
发明人:
STEWART, KIRK W. | PESTANA, NOAH | QUIGLEY, NICHOLAS | PROULX, CHRIS
简单同族:
US20140128689A1 | WO2012139007A1
简单同族成员数量:
2
简单同族被引用专利总数:
5
诉讼案件数:
0
法律状态/事件:
撤回 | 权利转移