首页
专利数据库
产业人才
行业动态
产业政策法规
维权援助
个人中心
登录/注册
详情
文本
图像
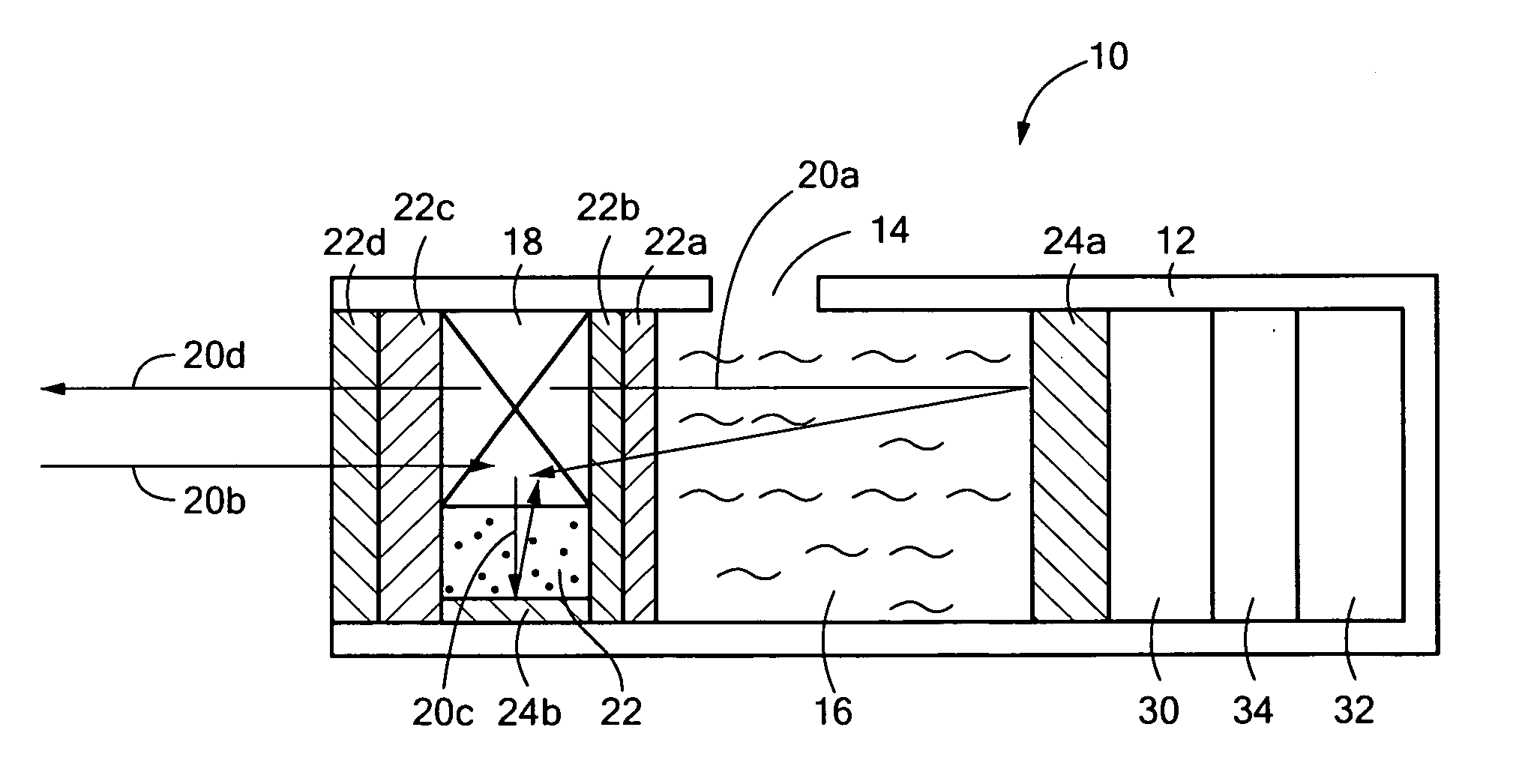
标题:
Health monitoring bolus
授权日:
1900-01-01
公开(公告)号:
US20110301437A1
申请日:
2010-06-02
公开(公告)日:
2011-12-08
当前申请(专利权)人:
VITAL HERD, INC.
发明人:
GABRIEL, KARIM M. | ROONEY, III, JAMES H. | CIANY, CHARLES M. | LESCANEC, ROBERT L.
简单同族:
US20110301437A1 | US8771201
简单同族成员数量:
2
简单同族被引用专利总数:
14
诉讼案件数:
0
法律状态/事件:
未缴年费 | 权利转移