首页
专利数据库
产业人才
行业动态
产业政策法规
维权援助
个人中心
登录/注册
详情
文本
图像
标题:
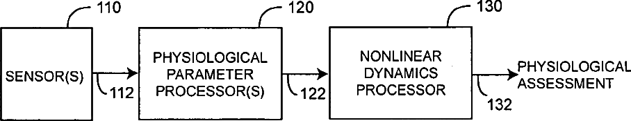
Physiological assessment system
授权日:
1900-01-01
公开(公告)号:
US20060009687A1
申请日:
2005-03-30
公开(公告)日:
2006-01-12
当前申请(专利权)人:
JPMORGAN CHASE BANK, NATIONAL ASSOCIATION
发明人:
DE FELICE, CLAUDIO | GOLDSTEIN, MITCHELL | LATINI, GIUSEPPE
简单同族:
US20060009687A1 | US7292883 | WO2005096922A1
简单同族成员数量:
3
简单同族被引用专利总数:
467
诉讼案件数:
0
法律状态/事件:
授权 | 质押 | 权利转移