首页
专利数据库
产业人才
行业动态
产业政策法规
维权援助
个人中心
登录/注册
详情
文本
图像
标题:
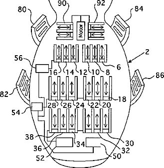
Automated infant massager
授权日:
2012-03-27
公开(公告)号:
US8142375
申请日:
2008-03-20
公开(公告)日:
2012-03-27
当前申请(专利权)人:
GASPARD SANNA
发明人:
GASPARD, SANNA
简单同族:
CA2681225A1 | CA2681225C | EP2129351A2 | EP2129351A4 | MX2009010540A | US20080242957A1 | US8142375 | WO2008121565A2 | WO2008121565A3
简单同族成员数量:
9
简单同族被引用专利总数:
16
诉讼案件数:
0
法律状态/事件:
授权