标题:
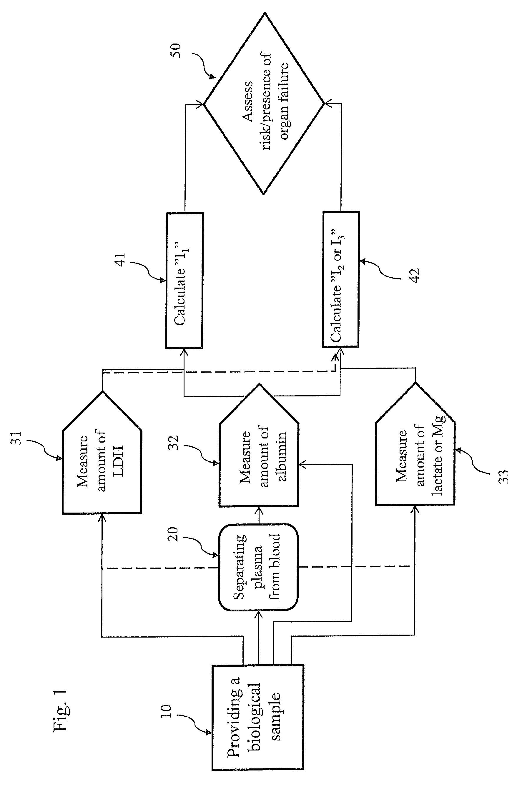
In vitro method for analyzing a comparison of an indicative numberic value to a predetermined threshold so as to assess a likelihood of risk or presence of organ failure
授权日:
2015-06-02
公开(公告)号:
US9045792
申请日:
2011-09-14
公开(公告)日:
2015-06-02
当前申请(专利权)人:
CALMARK SWEDEN AB
发明人:
KARLSSON, MATHIAS | HIORT AF ORNAS, SOFIA
简单同族:
EP2616552A1 | EP2616552A4 | SE1050958A1 | SE535502C2 | US20130171678A1 | US9045792 | WO2012036622A1
简单同族成员数量:
7
简单同族被引用专利总数:
10
诉讼案件数:
0
法律状态/事件:
授权 | 权利转移