首页
专利数据库
产业人才
行业动态
产业政策法规
维权援助
个人中心
登录/注册
详情
文本
图像
标题:
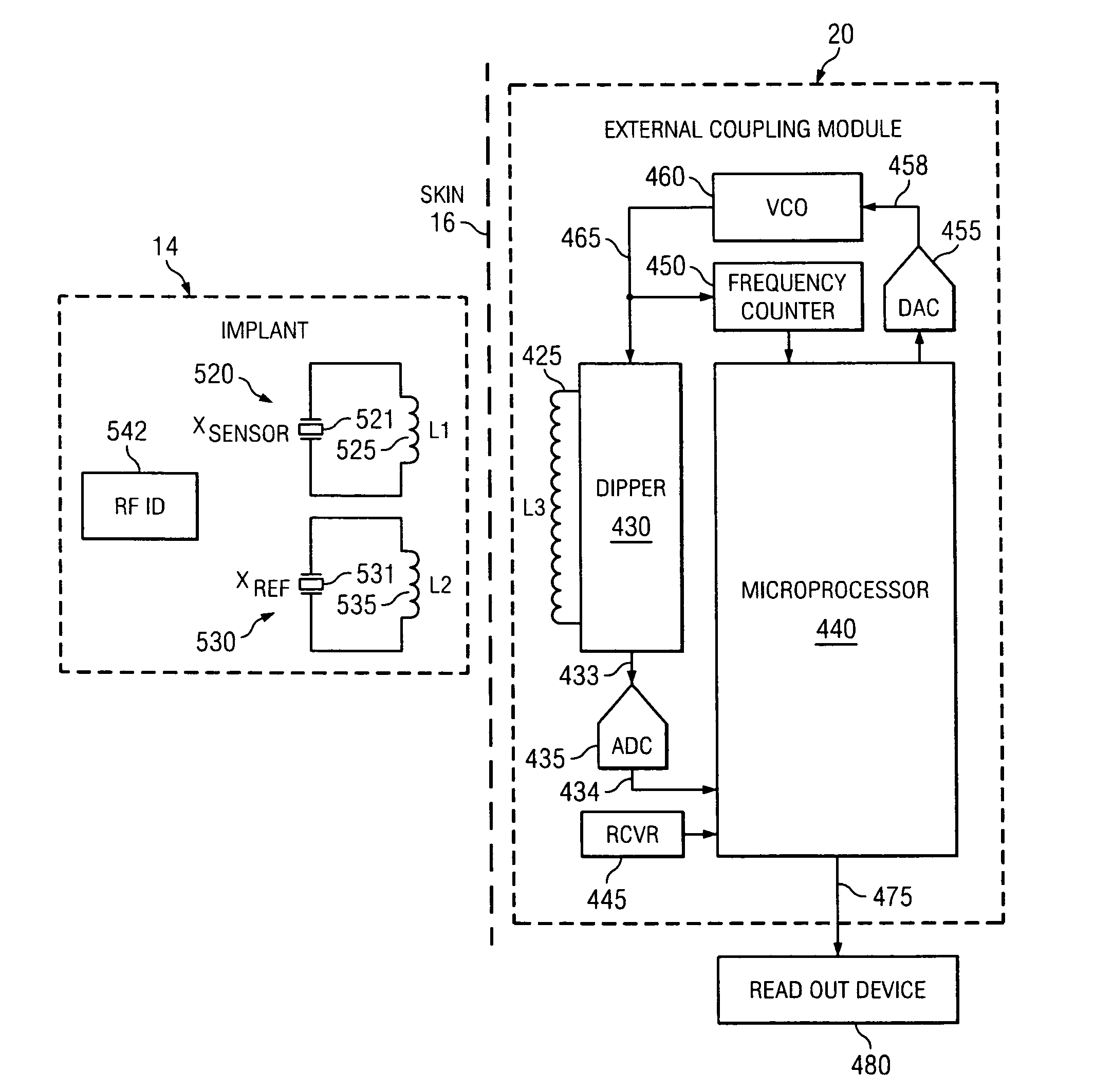
System for transcutaneous monitoring of intracranial pressure
授权日:
2013-02-05
公开(公告)号:
US8366633
申请日:
2011-08-19
公开(公告)日:
2013-02-05
当前申请(专利权)人:
WOLF, ERICH
发明人:
WOLF, ERICH
简单同族:
US10016135 | US10045697 | US20070167867A1 | US20120059238A1 | US20130035577A1 | US20140135597A1 | US20140135647A1 | US8057401 | US8366633 | US8784332
简单同族成员数量:
10
简单同族被引用专利总数:
118
诉讼案件数:
0
法律状态/事件:
授权