标题:
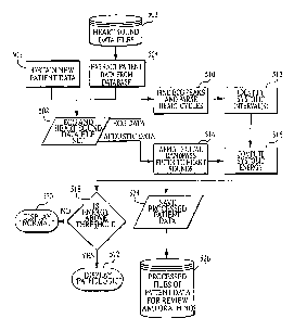
System and method for diagnosing pathologic heart conditions
授权日:
2005-05-24
公开(公告)号:
US6898459
申请日:
2001-02-23
公开(公告)日:
2005-05-24
当前申请(专利权)人:
JOHNS HOPKINS UNIVERSITY, THE
发明人:
HAYEK, CARLETON S. | THOMPSON, W. REID | LOMBARDO, JOSEPH S. | BLODGETT, LISA A. | COOPERMAN, CHARLES B.
简单同族:
AU2001043273A1 | EP1257204A1 | US20030055352A1 | US6898459 | WO2001062152A1
简单同族成员数量:
5
简单同族被引用专利总数:
140
诉讼案件数:
0
法律状态/事件:
授权 | 权利转移