首页
专利数据库
产业人才
行业动态
产业政策法规
维权援助
个人中心
登录/注册
详情
文本
图像
标题:
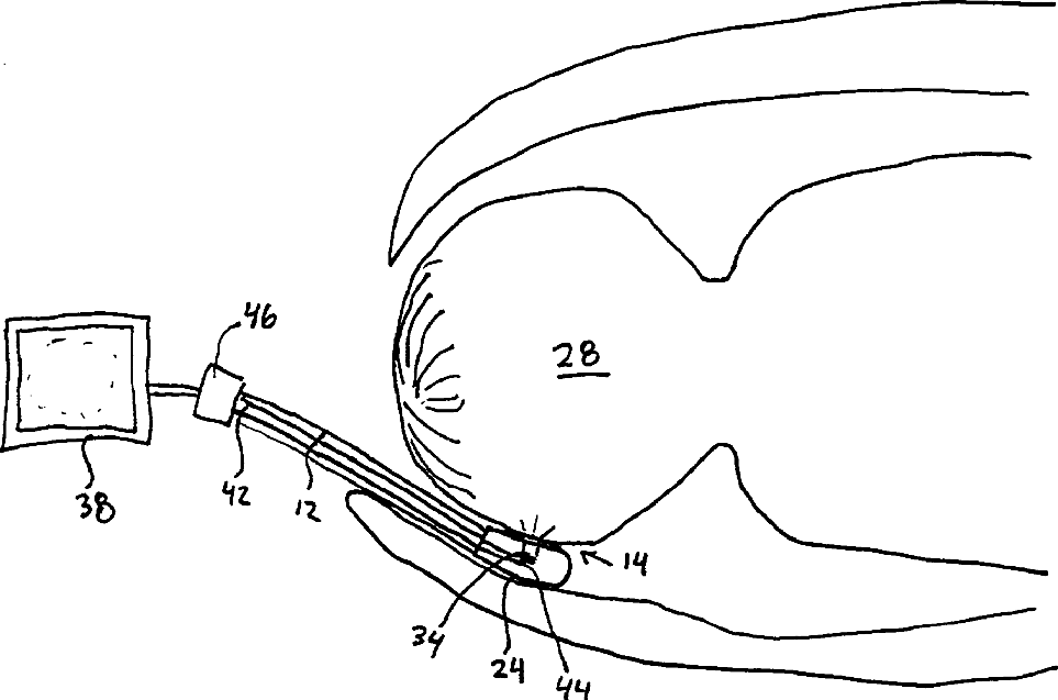
Fetal probe having an optical imaging device
授权日:
1900-01-01
公开(公告)号:
US20020068852A1
申请日:
2001-08-01
公开(公告)日:
2002-06-06
当前申请(专利权)人:
COVIDIEN LP
发明人:
COAKLEY, JOE | WALSH, JOHN | FEIN, MARCIA | WEBER, BRYAN
简单同族:
US20020068852A1 | US6719686
简单同族成员数量:
2
简单同族被引用专利总数:
133
诉讼案件数:
0
法律状态/事件:
未缴年费 | 权利转移