首页
专利数据库
产业人才
行业动态
产业政策法规
维权援助
个人中心
登录/注册
详情
文本
图像
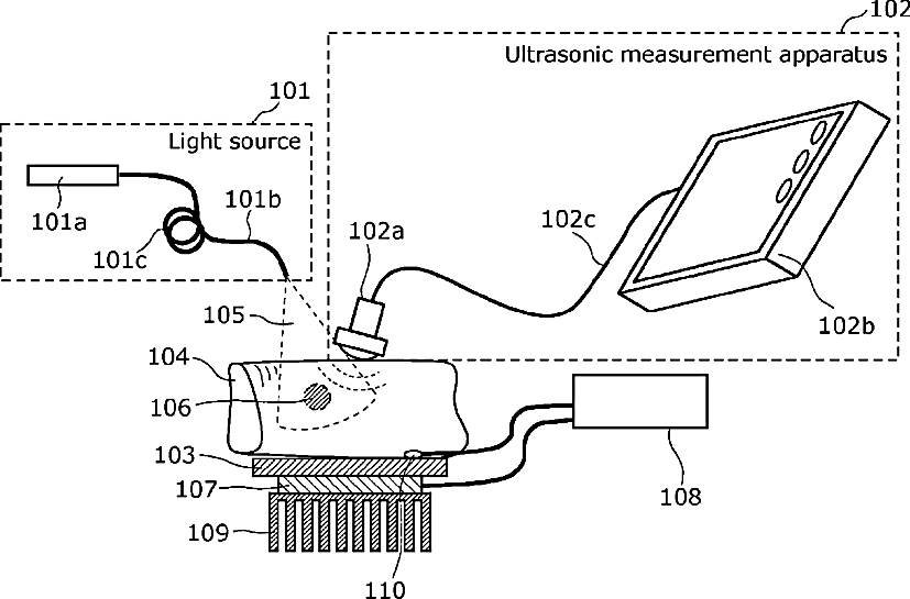
标题:
Analysis apparatus and analysis method
授权日:
1900-01-01
公开(公告)号:
US20130172741A1
申请日:
2012-07-09
公开(公告)日:
2013-07-04
当前申请(专利权)人:
PANASONIC CORPORATION
发明人:
KUSUKAME, KOICHI | ITOH, TATSUO | HORINAKA, HIROMICHI
简单同族:
CN103096810A | JPWO2013008447A1 | US20130172741A1 | WO2013008447A1
简单同族成员数量:
4
简单同族被引用专利总数:
8
诉讼案件数:
0
法律状态/事件:
撤回 | 权利转移