首页
专利数据库
产业人才
行业动态
产业政策法规
维权援助
个人中心
登录/注册
详情
文本
图像
标题:
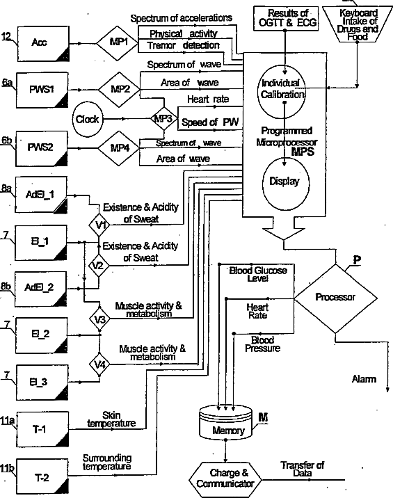
Device and Method for Measuring Physiological Parameters
授权日:
1900-01-01
公开(公告)号:
US20070255122A1
申请日:
2005-08-30
公开(公告)日:
2007-11-01
当前申请(专利权)人:
G.R. ENLIGHTENMENT LTD.
发明人:
VOL, ALEXANDER | GRIBOVA, ORNA
简单同族:
IL163796D0 | IL181622D0 | US20070255122A1 | WO2006025055A2 | WO2006025055A3
简单同族成员数量:
5
简单同族被引用专利总数:
71
诉讼案件数:
0
法律状态/事件:
撤回 | 权利转移