首页
专利数据库
产业人才
行业动态
产业政策法规
维权援助
个人中心
登录/注册
详情
文本
图像
标题:
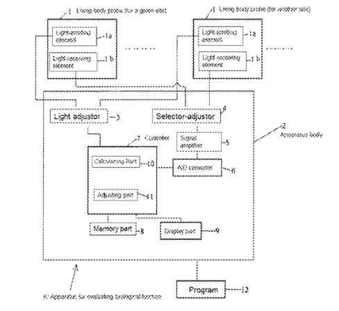
Apparatus and program for evaluating biological function
授权日:
2017-08-22
公开(公告)号:
US9737246
申请日:
2012-11-29
公开(公告)日:
2017-08-22
当前申请(专利权)人:
KATO, TOSHINORI
发明人:
KATO, TOSHINORI
简单同族:
EP2578154A1 | EP2578154A4 | JP5892702B2 | JPWO2011152388A1 | JPWO2011152388A5 | US20130150687A1 | US9737246 | WO2011152388A1
简单同族成员数量:
8
简单同族被引用专利总数:
13
诉讼案件数:
0
法律状态/事件:
授权