标题:
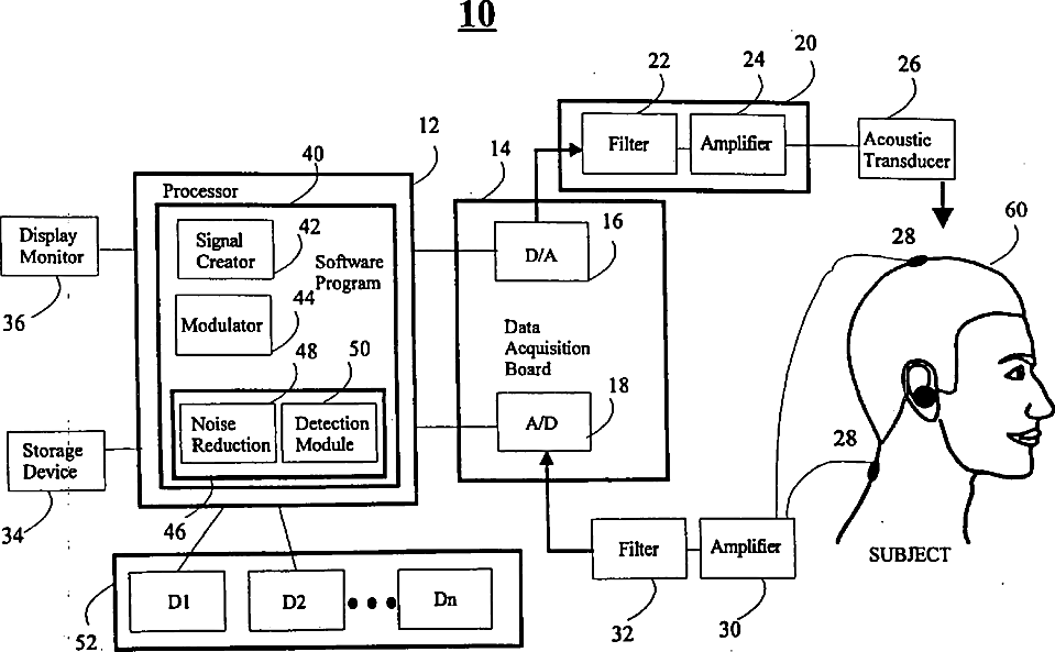
System and method for objective evaluation of hearing using auditory steady-state responses
授权日:
1900-01-01
公开(公告)号:
US20040064066A1
申请日:
2003-08-05
公开(公告)日:
2004-04-01
当前申请(专利权)人:
BAYCREST CENTRE FOR GERIATRIC CARE
发明人:
JOHN, MICHAEL S. | PICTON, TERENCE W.
简单同族:
EP1541082A1 | JP2005296607A | JP2005296607A5 | US20040064066A1 | US20040204659A1 | US7014613 | US7399282
简单同族成员数量:
7
简单同族被引用专利总数:
114
诉讼案件数:
0
法律状态/事件:
授权 | 权利转移