标题:
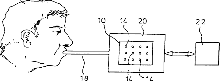
Detection of conditions by analysis of gases or vapours
授权日:
2003-09-16
公开(公告)号:
US6620107
申请日:
2001-12-18
公开(公告)日:
2003-09-16
当前申请(专利权)人:
GENMARK DIAGNOSTICS, INC.
发明人:
PAYNE, PETER ALFRED | PERSAUD, KRISHNA CHANDRA | SYMS, ALLAN JOHN
简单同族:
AT275636T | DE69826117D1 | DE69826117T2 | EP0972070A1 | EP0972070B1 | GB9704676D0 | US20020151814A1 | US6620107 | WO1998039470A1
简单同族成员数量:
9
简单同族被引用专利总数:
72
诉讼案件数:
0
法律状态/事件:
期限届满 | 权利转移