首页
专利数据库
产业人才
行业动态
产业政策法规
维权援助
个人中心
登录/注册
详情
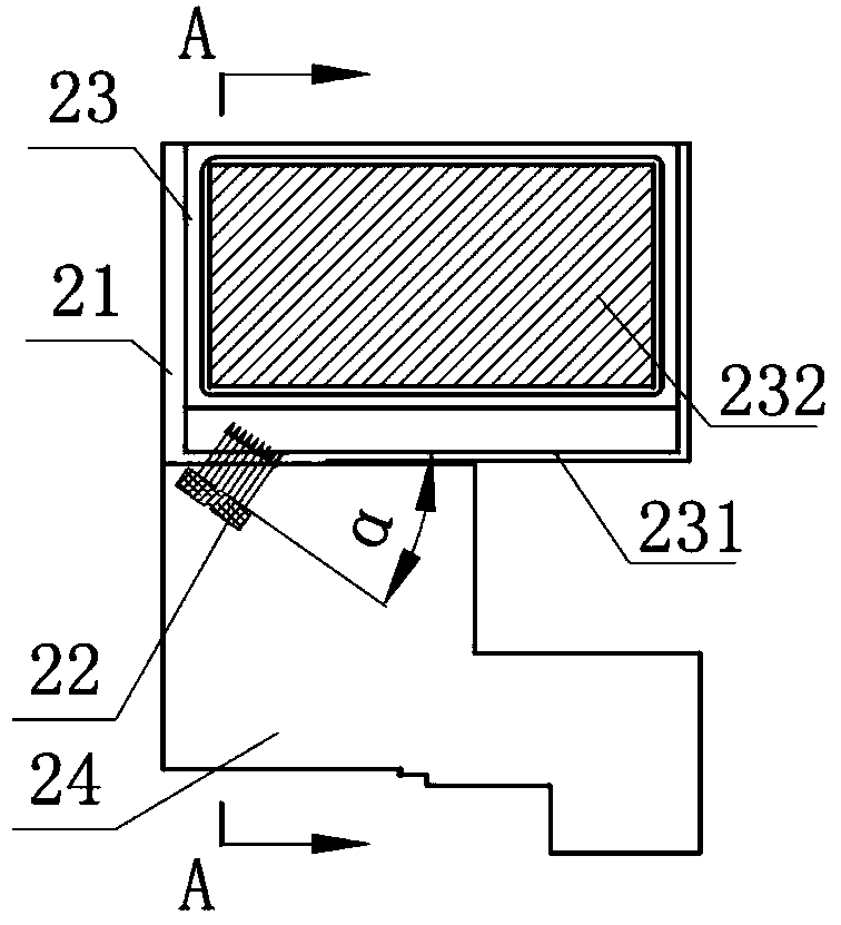
文本
图像
标题:
一种液晶显示屏与电子设备
授权日:
2014-11-26
公开(公告)号:
CN203965767U
申请日:
2014-07-21
公开(公告)日:
2014-11-26
当前申请(专利权)人:
天地融科技股份有限公司
发明人:
李东声
简单同族:
CN203965767U
简单同族成员数量:
1
简单同族被引用专利总数:
0
诉讼案件数:
0
法律状态/事件:
授权