首页
专利数据库
产业人才
行业动态
产业政策法规
维权援助
个人中心
登录/注册
详情
文本
图像
标题:
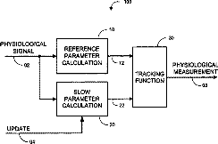
Physiological parameter tracking system
授权日:
2007-08-07
公开(公告)号:
US7254431
申请日:
2004-08-30
公开(公告)日:
2007-08-07
当前申请(专利权)人:
JPMORGAN CHASE BANK, NATIONAL ASSOCIATION
发明人:
AL-ALI, AMMAR | DIAB, MOHAMED | WEBER, WALTER M.
简单同族:
US20050090724A1 | US20080027294A1 | US20130274572A1 | US7254431 | US8385995 | US9788768
简单同族成员数量:
6
简单同族被引用专利总数:
475
诉讼案件数:
0
法律状态/事件:
授权 | 质押 | 权利转移