首页
专利数据库
产业人才
行业动态
产业政策法规
维权援助
个人中心
登录/注册
详情
文本
图像
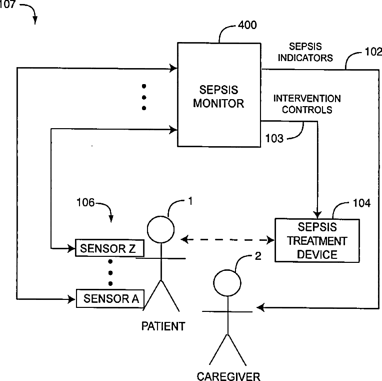
标题:
Sepsis monitor
授权日:
1900-01-01
公开(公告)号:
US20080091088A1
申请日:
2007-05-15
公开(公告)日:
2008-04-17
当前申请(专利权)人:
MASIMO CORPORATION
发明人:
KIANI, MASSI E.
简单同族:
US10226576 | US20080091088A1 | US20110208018A1 | US20140180038A1 | US20190201623A1 | US7941199 | US8663107
简单同族成员数量:
7
简单同族被引用专利总数:
411
诉讼案件数:
0
法律状态/事件:
授权 | 权利转移