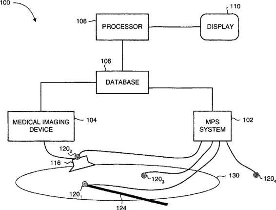
标题:
Method and apparatus for invasive device tracking using organ timing signal generated from MPS sensors
授权日:
2017-02-21
公开(公告)号:
US9572519
申请日:
2004-11-10
公开(公告)日:
2017-02-21
当前申请(专利权)人:
ST. JUDE MEDICAL INTERNATIONAL HOLDING S.À R.L.
发明人:
SHMARAK, ITZHAK | STROMMER, GERA | EICHLER, UZI
简单同族:
CA2587436A1 | CA2587436C | EP1809177A2 | EP1809177A4 | EP1809177B1 | IL234970A | IL234970D0 | JP2008519641A | JP5270919B2 | US10251712 | US20090182224A1 | US20170151023A1 | US20180153625A1 | US20180228554A1 | US9572519 | US9956049 | WO2006051523A2 | WO2006051523A3
简单同族成员数量:
18
简单同族被引用专利总数:
152
诉讼案件数:
0
法律状态/事件:
授权 | 权利转移